九泰健身房管理系统本次升级内容
2017-07-05
admin
苏州九泰健身房管理系统本次升级内容:
部门中可以添加组长
PC端预录入合同
普通赠送中添加私教课赠送
办卡合同增加图片附件
修复了发现的BUG
部门中可以添加组长——组长只可以看到本小组员工相关的信息。
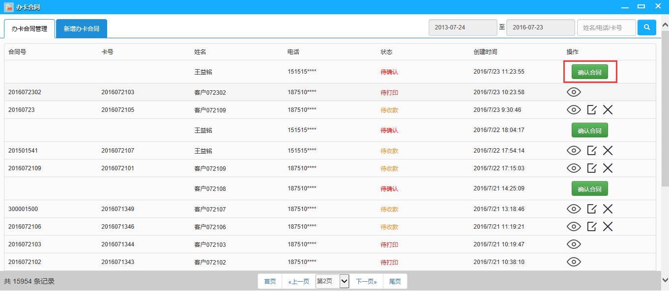
健身俱乐部管理系统系统PC端预录入合同
会籍可以使用超级本,在公司内进行合同预录入


2. 前台人员对会籍预录入的合同进行确认并输入合同号和为会员分配卡号


3. 前台人员对合同进行确认后,进入后续收款和合同打印流程
普通赠送中添加私教课赠送



办卡合同增加图片附件——办卡时可以添加必要的证明文件,例如大学生身份证明照片等
